差压变送器是工业生产中一种非常常见的测量仪表,通过与其周边测量设备的配套,可以很好的同时对于温度、压力、流量和液位进行测量,因为其测量精度很高,所以在许多工业生产领域得广泛的应用。本文就是针对用户在生产中经常会遇到的问题,对差压变送器从工作原理到常见的测量应用场景,以及相关的安装使用方法和注意事项,对平时经常出现的问题和故障作一些简要的分析,并结合自己在平常学习和维护中一些方法和经验对差压变送器作一个简要说明。
伴随现代工业的科技进步,差压变送器目前的应用范围的广度和深度也越来越大,因此随之产生的问题也越来越多样化,由于在安装、使用、维护过程中的差异性,导致出现的问题不容易短期得到解决,不仅影响了生产的正常进行,还对安全生产,人身安全带来隐患。
差压变送器的工作原理:来自双侧导压管的差压直接作用于变送器传感器双侧隔离膜片上,通过膜片内的密封液传导至测量元件上,测量元件将测得的差压信号转换为与之对应的电信号传递给转换器,经过放大等处理变为标准电信号输出。
下边列出我厂中应用差变的几种测量方式:
(一) 与节流元件相结合利用节流元件的前后产生的差压值测量液体流量
(二) 利用液体自身重力产生的压力差,测量液体的高度
(三) 直接测量不同管道、罐体液体的压力差值如图1:
图1管道检差压测量
差变的安装主要有3个部分:1.电气信号电缆的敷设2.导压管的敷设3.表的安装
象我们这样的石油化工型单位对温度这几点参数是非常重视的,而差压变送器除对温度以外的三种参数都能很好的进行测量,而且它的测量精度又非常的高,所以它在炼厂实际应用也#多。
二、平常维护中的几个典型故障分析及处理
故障现象1:2007年6月某厂无盐水装置外供水流量表显示偏低。
解决过程:经现场察看为EJA智能变送器,询问工艺和察看表以前工作情况,发现表以前也有类似情况不过偏差较小,分析可能原因为导压管有堵、漏或表设置和通讯线路问题。随即进行检测,发现导压管内并无堵、漏现象,对表进行检测发现表本身也没问题,现场显示和操作室DCS上一致,证明通讯线路也良好,但显示流量和实际就是相比就是偏低。由于操作介质为水,所以#后松开表两段排污阀发现高压侧水压明显高于低压测,判断为导压管堵、漏,但管本身并无堵、漏。#后仔细检查三阀组和导压管接口,终于发现表和导压管接口处四氟垫片有点挤压变形垫片孔径变得很小,于是更换垫片察看表显示,结果表显示和现场实际立马相符。
结论:现场检查一定要仔细认真不放过每一个细节,每一个细节都可能影响到整体。经平常发现和总结导压管堵塞是差压变送器经常发生的问题也是平常处处理#多的问题。在仪表维护中,由于差压变送器导压管排放不及时,或介质脏、粘等原因,正负导压管堵塞是经常发生的事,通常正导压管堵塞的现象是:变送器输出下降、上升或不变流量增加时,对变送器(变送器本身进行输出信号开方)
输处的影响。例如我厂Ⅲ常减压装置中的常压塔中的原油四支(FIC-109/112)流量差压表就是因为它们测量的是拔头原油因为介质比较粘稠,所以这几块表经常出现指示偏差,就是因为导压管出现堵的现象。平时清堵方法是给它们打冲洗甘油,用稀释的甘油清堵,它简单有效,所以我厂现在普遍采用。
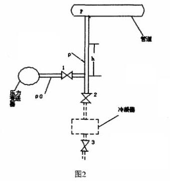
故障现象2:如某厂空分装置中用压力变送器测量氮气储罐进气的管道压力,在投用后其输出电流经常偏高。图如下:

图2
解决过程:压力变送器在投用以后,其输出电流经常偏高。经分析可能是仪表的零点不稳,有漂移;也可能是在氮气内有水汽,时间久了导压管内有冷凝液的缘故。经过检查仪表本身并无问题,分析现场具体情况后得知,当引压管内全是气体时,由于气体密度很小,所以进变送器的压力(设为P0)和管道内的压力(P)相等,即P0=P。但若引压管内有冷凝液,其高度设定为h,密度为ρ,则进变送器的压力P0为P0=hρg P即变送器的压力信号比管道内的压力多了一个hρg,这样变送器的输出电流比实际压力也要高出一个相应值,并随h的变化而变化。按仪表安装规程规定,测量气体的变送器应装在引压口的上方,这样,如果在引压管内出现冷凝液,就会自动返回设备内。但有时条件不许可,只能安装在下方,则须在引压管底端装个冷凝器见图2的虚线。为了不经常排凝冷器可以做的大一点。工作时,阀1阀2打开,阀3关闭,只要冷凝器内的冷凝液不满过容器,仪表的输出就不会偏高或偏低。
结论:由于气体取压方式不对或导压管安装不符合要求(与水平成不小于1:12的斜度连续下降)时,常常造成导压管内部积存液体的现象。这种现象的出现,往往会致使测量不准,如果在变送器量程很小的情况下,甚至会造成变送器输出的一些波动。
三、使用与维护方法总结
变送器在测量过程中,常常会出现一些故障,故障也是多种多样的,根据平时的维护心得可知多数原因是导压管的堵、漏现象造成的故障但也有仪表本身和工艺操作的一些原因再加上我们这个地区冬季气温比较低许多管道需要伴热线来保温这也给我们平常维护造成了不小的麻烦。但故障的及时判定分析和处理,对正在进行了生产来说是至关重要的。我根据日常维护和学习中的经验,总结归纳了一些判定分析方法:
1、调查:询问工艺和察看表以前工作情况和表供电和环境变化;
2、观察:观察回路的外部损伤、导压管的泄漏,回路的过热,供电开关状态等;
3、检查:
(1)短路检测:在保证安全的情况下,直接将相关部分回路短接,如差变示值偏小,可将导压管断开,从一次取压阀外直接将差压信号接到表的两端观察输出以判断导压管堵、漏。
(2)断路检测:直接将怀疑部分从回路中断开,观看故障是否消失,如果消失,则确定故障所在,否则可进下步查找,如:智能差压变送器不能正常Hart远程通讯,可将电源从表体上断开,用现场另加电源的方法为变送器通电进行通讯,以查看是否电缆是否叠加约2kHz的电磁信号而干扰通讯。
(3)替换检测:将怀疑有故障的部分更换,判断故障部位。
(4)分部检测:将测量回路分割成几个部分,如:供电电源、信号输出、信号变送、信号检测,按分部分检查,由简至繁,由表及里缩小范围,找出故障位置。
相关产品推荐:微差压变送器、















关注我们 实现共赢